内包式钢铝接触线简介
该导线由铝及梯形钢结构,抗拉强度高,耐磨及耐腐蚀性能高,使用寿命长,该产品应用于襄樊、兰州、银川神朔等供电段辖区内以及3000家煤炭、冶金矿山。
铁标(TB/T2277-91)内包式钢铝接触线机械性能、结构尺寸表

国标(GB12971.3-91)内包式钢铝接触线机械性能、结构尺寸表


内包式钢铝接触线
| 上一篇:吊线金具配件 | 下一篇:TBVF系列矿用隔爆型永磁同步变频牵引电动机 |
内包式钢铝接触线简介 该导线由铝及梯形钢结构,抗拉强度高,耐磨及耐腐蚀性能高,使用寿命长,该产品应用于襄樊、兰州、银川神朔等供电段辖区内以及3000家煤炭、冶金矿山。 铁
内包式钢铝接触线简介
该导线由铝及梯形钢结构,抗拉强度高,耐磨及耐腐蚀性能高,使用寿命长,该产品应用于襄樊、兰州、银川神朔等供电段辖区内以及3000家煤炭、冶金矿山。
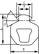
铁标(TB/T2277-91)内包式钢铝接触线机械性能、结构尺寸表

国标(GB12971.3-91)内包式钢铝接触线机械性能、结构尺寸表


| 上一篇:吊线金具配件 | 下一篇:TBVF系列矿用隔爆型永磁同步变频牵引电动机 |
15053755539
微信二维码
手机站